
Подгузники для птиц и еще множество нелепых изобретений.
Люди создали огромное число полезных вещей и еще больше – вещей бесполезных и откровенно абсурдных. Похоже, что в погоне за славой и деньгами, а может быть просто от нахлынувшего вдохновения, люди создают предметы, которые вряд ли пригодятся в реальной жизни. Впрочем, как знать…
1. Женское нижнее белье с календарем (US 5606748)

Интересное решение, вот только зачем?
На всякий случай, если женщина забудет о том, когда у нее следующий раз начнутся месячные, ей на выручку должно прийти это необычное нижнее белье.
Вот как это работает: спереди на трусиках есть поясок с двумя клипсами-зажимами в форме золотого и серебряного сердечек, в ниже расположен «календарь» с 31 днем в две строчки. Когда у женщины начинается менструация, она может вручную выставить с помощью сердечек начало и конец периода, после чего концы сердечек будут указывать на дату внизу и подскажут начало следующего периода.
2. Маска для лица «против еды» (US 4344424)

Если силы воли уже не хватает.
Наверняка, многие устали очередной раз пробовать новую диету и очередной раз терпеть неудачу. Выходом может стать подобный «намордник».
В такой маске человек может дышать и говорить, но при этом он не может есть. Довольно необычный способ похудеть.
3. Птичий подгузник (US 5934226)

Птица тоже хочет в туалет.
Тем, кто устал убирать за своими пернатыми питомцами, пригодится следующее изобретение. Этот «подгузник для птиц» имеет закрытый мешочек для приема и хранения экскрементов, а также отверстия, в которые можно вставлять крылья и хвост.
4. Устройство для автоматической заправки кровати (US 4441222)

А вот это действительно полезная вещь.
Следующее абсурдное изобретение подойдет для тех, кому надоело заправлять постель каждый день.
Любой может использовать это устройство с электрическим приводом для заправки постельного белья, просто прикрепив его к раме кровати.
5. Сигареты с сырным фильтром (US 3234948)

Для настоящих ценителей никотина.
Любители покурить теперь могут испытать совершенно новый опыт курения, приобретя ароматизированные сигареты с фильтром из сыра… если, конечно, их начнут выпускать.
Согласно заявлению изобретателя, «нынешние» сигаретные фильтры (которые применяются с 1966 г.) не фильтруют достаточное количество смолы и никотина из табачного дыма, поэтому он «открыл» новый фильтр: сыр. Изобретатель настаивает, что этот продукт является «очень эффективным табачным фильтром».
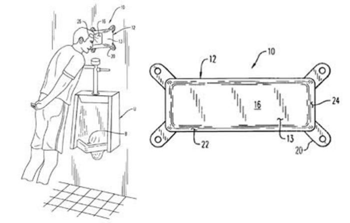
6. Подпорка для головы возле туалета (US 6681419)

А это гигиенично?
Многие люди, без сомнения, оказывались в ситуации, когда приходилось стоять на коленях перед унитазом. Обычно после такого человек клянется, что больше пить не будет, но зарекаться глупо.
Для многих, однако, стояние на коленях является неподходящим вариантом. Причина этого банальна — в весьма «поддатом» состоянии трудно сохранять равновесие. Именно для таких случаев и была изобретена специальная «нашлепка» на стену, которая прикрепляется над унитазом, и в которую удобно упираться головой.
7. Бионический гольфист

Для самых хардкорных игроков.
Эта штука предназначена для тех, кто хочет научиться играть в гольф, но не хочет слушать нотаций тренера.
T3 Bionic Golfer захватывает и удерживает плечи, руки, талию и ноги человека, полностью контролируя его движения, и помогая ударить в нужном направлении. Нужно просто расслабиться… если это, конечно, получится сделать, будучи «закованным» в такую штуку.
8. Постоянная подтяжка для лица (US 4995379)

Никто не хочет стареть.
Все гениальное просто — к местам, которые нужно подтянуть, прикрепляются клейкие нашлепки, затем стягивающиеся ремешками к ленте, опоясывающей голову.
Изобретатель предлагает «создать устройство настолько незаметным, насколько это возможно, сделав его элементы либо полностью прозрачными, либо телесного цвета».
9. Развлекательный писсуар (US 4773863)

Еще никогда справлять нужду не было так весело.
Итак, следующая идея: писсуар с аттракционами. Когда во время испражнения моча попадает в писсуар, она обнаруживается датчиками давления и температуры, которые посылают электрический сигнал в блок управления. Это активирует громкоговоритель и видеоэкран для обеспечения аудио- и визуальных сигналов.
Комбинация зрения и звука может варьироваться пользователем посредством направления струи мочи.
10. Моторизованный конус для мороженого (US 5971829)

И почему это изобретение абсурдное?
Данное изобретение предназначено для крайне ленивых людей. Вставляем рожок мороженого в это устройство и нажимаем на кнопку. И он начинает медленно вращаться, нужно только подставить язык.
Конус также подходит для любой другой мягкой пищи, которую можно слизывать.
11. Устройство для защиты бананов (US 6612440)

Бананы постоянно портятся.
Это защитное устройство включает в себя контейнер в форме банана, который раскрывается на шарнирах, и предназначен, как несложно догадаться, для хранения в нем банана.
Чтобы плод не повредился в процессе транспортировки, внутри есть прокладки для амортизации и защиты банана. Остается только понять, зачем это нужно.
12. Глушитель для рта (US 4834212)

Лучше психолога посетить.
Знакомимся с «Звуковым глушителем» — устройством, в котором человек может кричать, не беспокоя других, что позволяет ему освободить свой гнев.
Устройство полностью звукоизолирующей пеной, а также оснащено микрофоном и датчиками, позволяющими измерить громкость крика.
13. Клавиатура Emoticon (US 6629793)

Нужно еще было такое придумать.
Обычно люди рисуют смайлики, комбинируя символы различных клавиш. Наверняка, каждый задавался вопросом, почему не специальных кнопок для отдельных смайлов.
Данное изобретение представляет собой расширенную клавиатуру, оснащенную кроме обычных кнопок специальными кнопками для смайликов, а также специальным процессором со сканером, с помощью которых можно создавать смайлики на экране самому.
14. Палочковилка (US 4809435)

Смело и бесполезно.
С одной стороны это восточные палочки для еды. А с другой стороны концы палочек сходятся вместе, соединяясь в вилку или ложку. Вот такое универсальное приспособление для еды.
15. Защита ушей собак (US 4233942)

Пусть ушки вашей собаки будут чистыми.
Это нелепое изобретение обеспечивает защиту ушей животных, особенно длинношерстных собак, от загрязнения пищей в то время, пока они едят.
В продолжение темы 10 странных и неожиданных способов использования крови, о которых большинство людей и не догадывалось.
Источник: